|
单层振动流化床干燥机单层振动流化床干燥机结构简单,操作方便,生产能力较大,应用也较为广泛。一般都在振动流化床干燥机床层颗粒静止高度不太高的情况下使用(床层高度约300~400mm)。根据所干燥的介质不同,生产强度可达每平方米分布板从物料中干燥水分500~1000kg/h,其空气消耗量为3~12Kg/h。适用于较易干燥或要求不严格的湿粒状物料,如粉煤、细矿石、砂和无机盐等。单层振动流化床干燥机的主要缺点是不能保证固体颗粒干燥均匀。所以一般用于要求干燥程度不高的固体颗粒物料。氯化铵振动流化床干燥机直径为3000mm,物料的较初含水量为7%,干燥后为0.5%,生产能力为每日350t。

工艺流程和主要设备如图3-1所示。湿物料由胶带输送机送到抛料机的加料斗上,再经抛料机送入振动流化床干燥机内。空气经过过滤器由鼓风机送入空气加热器,加热后的热空气进入流化床底部分布板,干燥湿氯化铵。干燥后的氯化铵经溢流口由卸料管排出。干燥后空气夹带的粉尘经4个并联的旋风除尘器分离后,由抽风机排出。生产操作条件:进风温度150-160摄氏度。 排风温度50-60摄氏度 颗粒度40-60目 操作气速 床层高度 操作风量3000立方 床层压力600-700Pa(负压 负压) 操作压力损失 物料停留时间 多层振动流化床干燥机单层振动流化床干燥机的缺点在于干燥后所得产品湿度不均匀。为改进此缺点,出现了多层振动流化床干燥机。如五层振动流化床干燥机干燥涤纶切片。其工艺流程和主要设备如图3-2所示。
 经结晶后的涤纶树脂由料斗送入气流输送干燥器上部,由上溢流而下,干燥后的合格产品(含水量小于等于0.02%)由出料管卸出。空气经过滤器,由鼓风机送入电加热器,加热后从干燥器底部进入,将湿料沸腾干燥。为了提高利用率,可将部分气体循环使用。涤纶树脂采用多层振动流化床干燥机,各层气体分布板用自动液压翻板式结构。这种结构的特点是:先从振动流化床干燥机较下层气体分布板通过自动液压翻板卸下干燥度合格的涤纶树脂后,恢复气体分布板至原状,再逐层通过翻板卸下物料,直至较上层气体分布板翻下物料恢复原状后,再加入新的湿物料进行下一次的干燥循环。在正常生产情况下,每一次的干燥循环周期可按照预先规定的时间进行。其优点是可以完全保证物料干燥度的要求。多层振动流化床干燥机结构上类似于板式塔,可分为溢流管式和穿流板式。国内目前均用溢流管式多层振动流化床干燥机。 一般溢流管下面装有调节装置,其结构有: (1)菱形堵头[图3-3(a)] 调节堵头上下位置,可以改变下料孔自由截面积,从而控制下料量。这种结构由人工操作调节。
 图3-3溢流管调节装置 (2)铰链活门式[图3-3(b)] 根据溢流管中物料量的多少,可自动开大或关小活门。但需注意活门轧死而失灵。 (3)自封式溢流管(图3-4) 自封式溢流管采用侧向溢流口,其空间位置设于空床气速较低的床壁处(以保持溢流口仍为较小控制面为原则),再加上侧向溢流口的附加阻力,使气体倒窜的可能性大为减小,即使将溢流口埋入浓相床层中,也不会引起气流对下料的干扰。自封式溢流管采用不对称方锥形,既可防止颗粒架桥卡料,又可因截面自下而上不断扩大而气速不断降低,减少喷料的可能性。在溢流管内颗粒空隙间流动的气体,能起松动物料的作用,为此,可在溢流管侧壁上开一串侧孔(其开孔率选取等于分布板的开孔率),由床层内自动引入少量气体作为松动风,不需另设风源。至于溢流管的具体尺寸要根据实际生产情况进行实验决定。
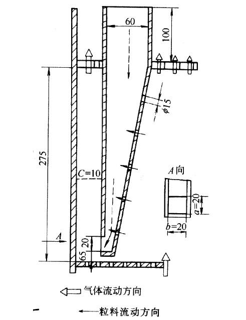
 穿流板式振动流化床干燥机其结构较为简单(图3-5)。其特点是没有溢流管,物料直接从筛板孔由上而下的流动,同时气体通过筛孔由下向上运动,在每块筛板上形成沸腾床,比溢流管简单。但操作控制更为严格。为使物料能通过筛板孔流下来,筛板孔径应比物料粒径大5-30倍,一般孔径为10-20mm ),开孔率为30%-45%, )气体通过筛板孔的速度V0和物料颗粒的带出速度Vt之比值,其下限为1.1-1.2),其上限为2。颗粒的粒径在0.5到5mm范围内。这种干燥器一般每平方米床层截面可干燥1000-10000kg/h的物料。
 旋转闪蒸干燥机新型设备采用多种装置,如采用多种加料装置,使加料连续稳定,加料过程不会产生架桥现象;干燥机底部采用特殊的冷却装置,避免了物料在底部高温区发生粘壁及变质现象;采用特殊的气压密封装置和轴承冷却装置,有效延长传动部分的使用寿命;采用特殊的分风装置,降低了设备阻力,并有效提供了干燥机的处理风量香兰素沸腾干燥机是有空气过滤器、加热器、沸腾床主机、加热料、旋风分离器、布袋除尘器、高压离心风机、操作台等组成。由于干燥物料的性质不同,配套除尘设备时,可按需要考虑,可同时选择旋风分离器、布袋除尘器,也可选择其中一种,一般来说比重较大的如冲剂及颗粒物料干燥只需选择旋风分离,比重较轻的小颗粒和粉状物料本文,主要为大家介绍检查高效沸腾干燥机的8个详细步骤,以确保其在运行过程中的有效使用。感兴趣的小伙伴们,快跟着小编一起来探讨一下吧。 1、高效沸腾干燥机的轴承和齿轮寿命,一般2-3年。摆线减速机润滑要定期检查油位,新设备在全运转后50小时换油。根据高效沸腾干燥机的清洗程序,改善设备卫生。 2、每预混合饲料是同一类的多种添加剂或不同类型的多种添加剂按一定比例配制而成的匀质混合物。虽然预混合饲料在全价饲料中所占比例很小,但其对全价饲料的饲养效果却起着极其重要的作用。科学的预混合饲料配方是预混料生产的关键。要生产出优质的预混料,不仅需要科学的配方,还需要优质的原 旋转闪蒸干燥机通常由不锈钢制成,干燥室直径可达2.5米,可以在入口温度高达600°C的条件下运行。连续的过程通过^控制提供有效的干燥。节约成本和投资回报是通过降低能源需求来实现的,不需要外部回收产品来获得所需的规格,低维护和高质量的^终产品。与备用技术相比,旋转闪蒸干燥机的占地面积相对较小
|